Công nghệ

Apple đang phát triển một chiếc iPhone chưa từng có

Duy Huỳnh

Touch ID và Face ID dưới màn hình sẽ là một nâng cấp đáng chú ý có trên dòng iPhone tương lai.

Apple đang phát triển một chiếc iPhone chưa từng có Ảnh 2

Theo báo cáo từ các chuyên gia công nghệ, iPhone 13 Series ra mắt cuối năm nay sẽ không có những thay đổi lớn.

Tuy nhiên, những mẫu iPhone mới của Apple có thể sẽ kèm cảm biến vân tay (Touch ID) ẩn dưới màn hình.

(Ảnh: Ben Geskin x Smazizg)
(Ảnh: Ben Geskin x Smazizg)

Nhiều tin đồn cho thấy, Apple đã bắt đầu thử nghiệm cảm biến vân tay ẩn dưới màn hình và đây sẽ là một bản nâng cấp quan trọng cho năm 2021.

Xem thêm: iPhone 13 giá rẻ được ưu ái trang bị tính năng xịn sò của iPhone 12 Pro Max

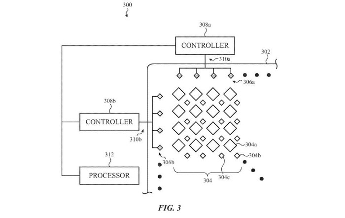
Mặc dù chưa thể khẳng định công nghệ này sẽ được Apple mang lên chiếc iPhone sắp tới, nhưng ít nhất mới đây Apple đã nộp đơn xin cấp bằng sáng chế về một công nghệ có thể phát hiện ánh sáng qua màn hình. Rất có thể là để áp dụng cho Touch ID và Face ID dưới màn hình trong tương lai.

(Ảnh: USPTO)
(Ảnh: USPTO)

Bằng sáng chế này mô tả về cách hoạt động của một hệ thống cảm biến ánh sáng được đặt phía dưới màn hình, với hai cách triển khai khác nhau.

Giải pháp thứ nhất: Bằng sáng chế cho biết rằng một cảm biến phía dưới màn hình có thể tập hợp hình ảnh của một vật thể chạm vào màn hình, có thể là phiên bản tương lai của Touch ID.

(Ảnh: Internet)
(Ảnh: Internet)

Giải pháp thứ hai: Apple sẽ sử dụng một hệ thống bao gồm một loạt các đi-ốt quang hoặc pin mặt trời để tổng hợp thông tin hình ảnh. Hệ thống này sẽ sử dụng tín hiệu điện từ các đi-ốt quang để cảm nhận màu sắc và cường độ của ánh sáng.

Giải pháp này có thể là phiên bản Face ID trong tương lai. Hệ thống sẽ thêm một cảm biến ánh sáng xung quanh để cải thiện độ chính xác của hệ thống.

(Ảnh: Concept Creator x Let'sGoDigital)
(Ảnh: Concept Creator x Let'sGoDigital)

Trước đó, Wall Street Journal dẫn nguồn tin từ hai cựu nhân viên của Apple cho biết, công ty “đang làm việc trên công nghệ vân tay dưới màn hình và đã xem xét đưa cả Touch ID và Face ID vào cùng một thiết bị”.

Nếu những thông tin kể trên chính xác, Touch ID và Face ID dưới màn hình sẽ là một nâng cấp đáng chú ý có trên dòng iPhone tương lai, đặc biệt là khi thế giới đang cố gắng vượt qua đại dịch và việc đeo khẩu trang vẫn là cần thiết.

Xem thêm: Cư dân mạng Việt Nam 'phá banh' Google Maps chỉ để check-in sống ảo

Chia sẻ FacebookChia sẻ

Bài viết

Duy Huỳnh

ĐƯỢC QUAN TÂM

TIN MỚI