Tiêu Chiến đang trở lại đường đua giới giải trí với hàng loạt những dự án mới: từ tham gia show thực tế Thử thách cực hạn, trở thành người đại diện cho những thương hiệu, cho đến khi phim mới chuẩn bị ra mắt và phát hành bài hát. Sau 1 ngày phát hành, bài hát Điểm sáng do Tiêu Chiến thể hiện đã lập được kỷ lục trên hàng loạt bảng xếp hạng nhạc số.


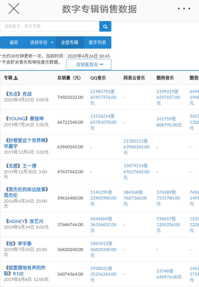
Hiện tại, doanh số bài hát Điểm sáng đã đạt đến 74,5 triệu NDT (251 tỷ đồng) trên các nền tảng âm nhạc lớn. Trên thực tế, chưa đầy 11 giờ sau khi bài hát được phát hành, doanh số tích lũy trên ba nền tảng của QQ Music, Kugou và Kuwo Music đã vượt quá 13,75 triệu bản, với doanh thu vượt 40 triệu NDT. Những kết quả như vậy thậm chí gấp đôi thành tích của bài hát Đã nói sẽ không khóc của Châu Kiệt Luân với 6 triệu bản trong 11 giờ.


Dù thành tích về doanh thu vô cùng tốt thế nhưng Tiêu Chiến lại gặp rắc rối về mặt đánh giá trên trang Douban. Điểm số bài hát trên trang này thay đổi từ 6.7 lên 10.0 sau đó lại xuống 6.0 và đang dừng ở điểm 5.7. Phía antifan cáo buộc phía Tiêu Chiến giở trò, thao túng trang Douban.

Bên cạnh đó, không ít bài viết trên Weibo cho rằng fandom Tiêu Chiến ép những thành viên fan nhỏ tuổi còn đang đi học bỏ ra số tiền lớn để mua nhạc ủng hộ thần tượng. Trước những nghi vấn này, phòng làm việc của Tiêu Chiến lên tiếng cảm ơn mọi người đã ủng hộ nam diễn viên. Đồng thời, phía anh chàng khuyên fan hâm mộ nên theo đuổi thần tượng một cách lý trí, ưu tiên việc học, công việc, cuộc sống rồi cuối cùng mới tính đến chuyện ủng hộ Tiêu Chiến.



Thời gian vừa qua, Tiêu Chiến gặp không ít rắc rối do fan hâm mộ gây ra. Dù rằng lượng fandom rất hùng hậu với sức ủng hộ cuồng nhiệt, nhưng cũng vì vậy mà xảy ra không ít chuyện không đáng có!
Điểm Sáng - Tiêu Chiến [Audio mp3]