Công nghệ

Bằng sáng chế mới hé lộ thay đổi đẳng cấp sẽ có trên iPhone tương lai

Duy Huỳnh

Bằng sáng chế mới đây cho thấy, Apple đang có kế hoạch sử dụng vật liệu siêu bền titan cho iPhone, iPad và MacBook.

Bằng sáng chế mới hé lộ thay đổi đẳng cấp sẽ có trên iPhone tương lai Ảnh 2

Một bằng sáng chế do Văn phòng Bằng sáng chế và Thương hiệu Mỹ cấp mới đây cho Apple cho thấy, "Táo khuyết" đang có kế hoạch sử dụng vật liệu siêu bền titan cho iPhone, iPad và MacBook.

Apple Watch Series 5 chất liệu titan có trọng lượng nhẹ và độ bền cực cao khi có thể chống oxi hoá, ăn mòn trong nước biển,... (Ảnh: GregsGadgets)
Apple Watch Series 5 chất liệu titan có trọng lượng nhẹ và độ bền cực cao khi có thể chống oxi hoá, ăn mòn trong nước biển,... (Ảnh: GregsGadgets)

Bằng sáng chế có tiêu đề “Titanium parts having a blasted surface texture” (tạm dịch: Gia công bề mặt trên lớp vỏ ngoài titan), giải thích rằng chất liệu nhôm anot hóa, được sử dụng trên MacBook và iPad hiện tại, không đủ độ cứng hoặc bền như titan.

Xem thêm: iPhone 13 sẽ được Apple hào phóng trang bị cho tuỳ chọn từ trước đến nay chưa có

Tuy nhiên, độ cứng của titan khiến nó trở nên “rất khó tạo hình” và có độ thẩm mỹ cao. Bằng sáng chế mới đã đưa ra giải pháp cho vấn đề này bằng cách phác thảo quy trình gia công bề mặt, khắc và hóa học để tạo lớp vỏ ngoài titan trông hấp dẫn hơn.

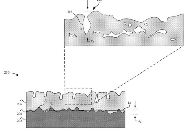
Bằng sáng chế mô tả cách Apple có thể vượt qua thách thức để tạo ra lớp hoàn thiện bằng titan. (Ảnh: Patently Apple)
Bằng sáng chế mô tả cách Apple có thể vượt qua thách thức để tạo ra lớp hoàn thiện bằng titan. (Ảnh: Patently Apple)

Apple mô tả bề mặt kết cấu có lớp trên cùng được ngăn cách bởi các khe nhỏ chỉ vài micromet và được làm bóng nhẹ. Quá trình này bao gồm các kỹ thuật khác nhau giúp cung cấp cho một vật liệu mờ tự nhiên một lớp bóng hoàn thiện.

Lớp hoàn thiện bề mặt được mô tả là lớp “phản xạ ánh sáng nhìn thấy và được khuếch tán đặc biệt” với cấu trúc và thẩm mỹ không giống bất kỳ bộ phận titan thông thường nào khác.

Bằng sáng chế cũng lưu ý rằng, lớp vỏ titan này sẽ thích hợp áp dụng trên cả MacBook, iPad, iPhone và Apple Watch. (Ảnh: Patently Apple)
Bằng sáng chế cũng lưu ý rằng, lớp vỏ titan này sẽ thích hợp áp dụng trên cả MacBook, iPad, iPhone và Apple Watch. (Ảnh: Patently Apple)

Trước đó, Apple đã ra mắt mẫu đồng hồ Apple Watch phiên bản titan, do đó bằng sáng chế mới được cấp của hãng có thể mở đường cho MacBook, iPad và iPhone được hoàn thiện bằng chất liệu này.

Do titan nặng hơn nhôm, nhưng cứng hơn nhiều đến mức có thể sử dụng một phần mỏng hơn để đạt được độ bền và độ cứng tương tự, nên vỏ iPhone khi được làm bằng titan cũng sẽ nhẹ hơn vỏ nhôm.

Bản độ iPhone 11 Pro của Caviar với mặt lưng được cấu thành từ titan nguyên khối. (Ảnh: Caviar)
Bản độ iPhone 11 Pro của Caviar với mặt lưng được cấu thành từ titan nguyên khối. (Ảnh: Caviar)

Nếu sử dụng vỏ làm bằng titan, các thiết bị của Apple sẽ có độ bền cao hơn, trọng lượng cũng nhẹ và sang hơn. Tất nhiên, chúng cũng có thể làm tăng giá thành của sản phẩm lên không ít, nên Apple sẽ cần thêm thời gian nghiên cứu và ứng dụng thêm.

Tháng trước, Apple đã được cấp bằng sáng chế cho lớp vỏ đen mờ trên MacBook Pro và hãng đang tiếp tục nghiên cứu thêm nhiều biện pháp khác nhau để dần loại bỏ lớp vỏ nhôm anodized.

Apple đã được cấp bằng sáng chế cho lớp vỏ đen mờ trên MacBook Pro, iPhone. (Ảnh: The Verge)
Apple đã được cấp bằng sáng chế cho lớp vỏ đen mờ trên MacBook Pro, iPhone. (Ảnh: The Verge)

Cần lưu ý rằng vì đây chỉ là một bằng sáng chế nên không có gì đảm bảo nó sẽ được Apple thực hiện hoá. Đã có nhiều ý tưởng được cấp bằng sáng chế nhưng cho đến nay vẫn chưa xuất hiện.

Tuy nhiên, chúng cũng cung cấp một cái nhìn sâu sắc và thú vị về những gì Apple đang nghiên cứu và phát triển, đồng thời gợi ý về các sản phẩm tương lai.

Xem thêm: Quên iPhone 12 đi, iPhone 13 đã 'xuất đầu lộ diện' với thiết kế sang chảnh ngút trời

Chia sẻ FacebookChia sẻ

Nguồn

MacRumors

Bài viết

Duy Huỳnh

ĐƯỢC QUAN TÂM

TIN MỚI